Катушечный видеомагнитофон Электроника Л1-08

Электроника Л1-08 — советский бытовой черно-белый видеомагнитофон производства НПО «Позитрон» (Ленинград). Данный видеомагнитофон использует полукадровый метод записи.

Электроника Л1-08

В видеомагнитофоне используются стандартные видеоголовки ФГВ-2 без наклона магнитного зазора. Видеоголовки расположены так, чтобы обе головки каждый раз читали одну и ту же видеодорожку на ленте, таким образом записывается и считывается только одно поле из телевизионного кадра и можно сделать воспроизведение медленнее, что и увеличивает длительности записи на катушку с видеолентой. Видеолента используется стандартная ORWO 640/641.

Подробнее о формате видеомагнитофона можно почить в книге "Бытовые видеомагнитофоны" А.П. Афанасьев, В.П. Самохин, "Радио и связь" (1989). Сканы раздела "Микроструктуры сигналограмм" выложены в конце страницы.

Электроника Л1-08

Электроника видеомагнитофона расположена на открывающейся дверце, для облегчения ремонта. Схемотехника аппарата выполнена преимущественно на микросборках.

Внутреннее устройство видеомагнитофона Электроника видеомагнитофона

Привод на БВГ — пассиковый с коллекторного двигателя. Тонвал приводится во вращение сетевым двигателем. Механика приводится в действие посредством кнопок против клавиш, как на видеомагнитофонах "Электроника Видео". Переключение осуществляется перемещением тяг, которые соединяют промежуточные ролики. В механизме используются ремни.

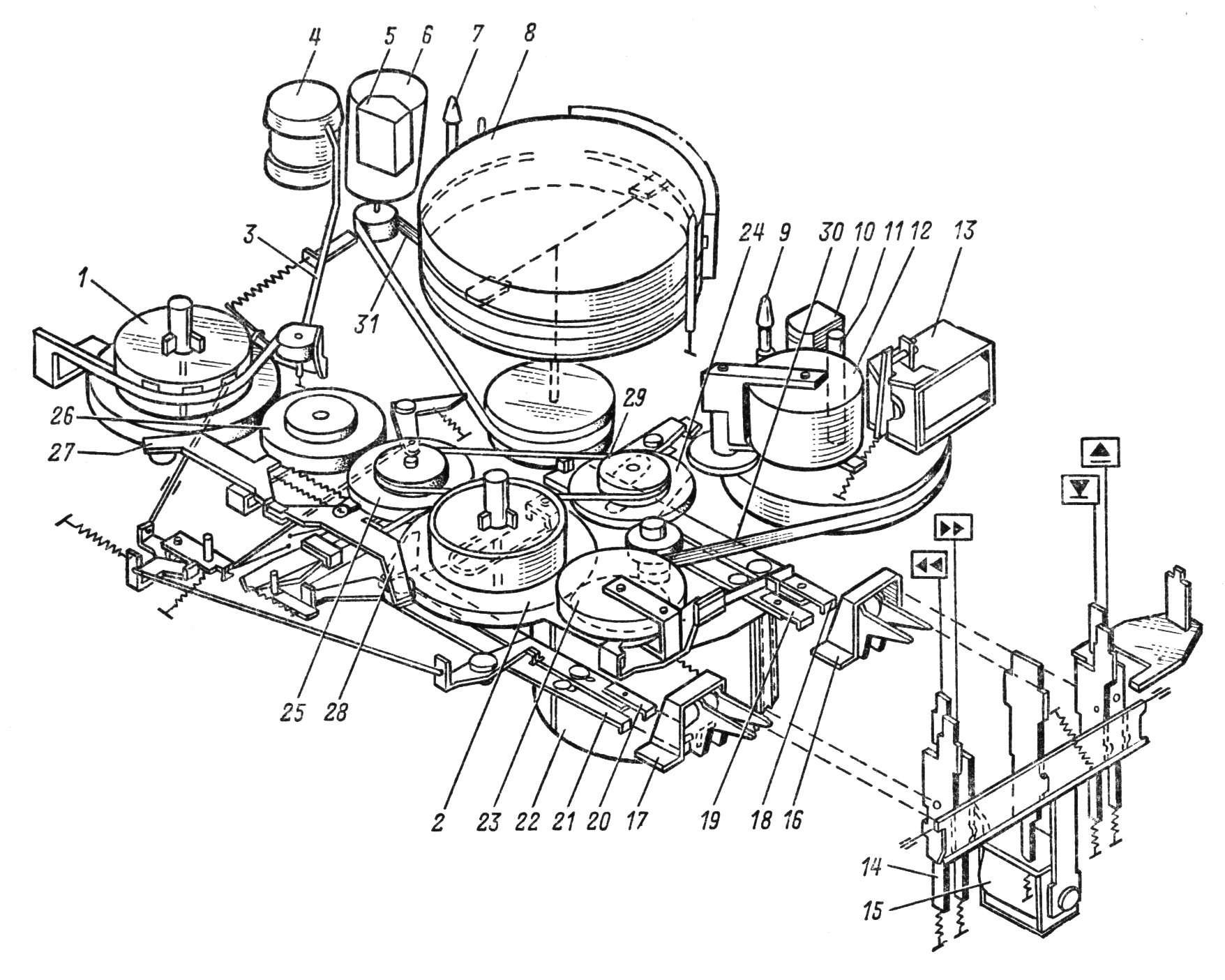
Лентопротяжный механизм Лентопротяжный механизм Шильдик

Описание ЛПМ из Справочника Радиолюбителя-конструктора (1977)

ЛПМ типа «разомкнутая Ω-петля» имеет ведущий двигатель 22, двигатель блока головок 6, подающий узел 1, приемный узел 2, ведущий вал 11 с маховиком, прижимной ролик 12, обводной ролик 4, направляющие стойки 7 и 9. Для поддержания постоянного натяжения в тракте подающий узел снабжен механическим тормозом с рычагом 3 и пружиной. Передача движения от двигателей производится ременными передачами 29, 30, 31, фрикционной подмоткой 23 и шкивами перемотки 24, 25, 26. По ходу движения со стороны основы помещена стирающая головка 5 (при таком расположении стирающей головки рабочий слой ленты не изнашивается), блок вращающихся головок 8 Рядом с ведущим валом расположена универсальная головка 10. Переключение режимов работы осуществляется от кнопочной станции 14 толкателями 18, 19, 20, 21 со скобами 16, 17, рычагами 27, 28 и электромагнитами 13, 15. Большим преимуществом ЛПМ является удобство заправки ленты и ее малый износ при эксплуатации.

Схема ЛПМ Схема ЛПМ

Материалы

  (7,79Mb) Руководство по эксплуатации
  (24,1Mb) Принципиальная и кинематическая схемы
  (3,82Mb) Устройство согласующее. Инструкция по установке в телеприемник.
  (236Kb) Описание и чертежи БВГ Электроники Л1-08 из Справочника Радиолюбителя-конструктора (1977)
  (3,71Mb) "Микроструктуры сигналограмм" из "Бытовые видеомагнитофоны" А.П. Афанасьев, В.П. Самохин, "Радио и связь" (1989)